For full functionality of this site it is necessary to enable JavaScript.
EMIN.COM.LA
0
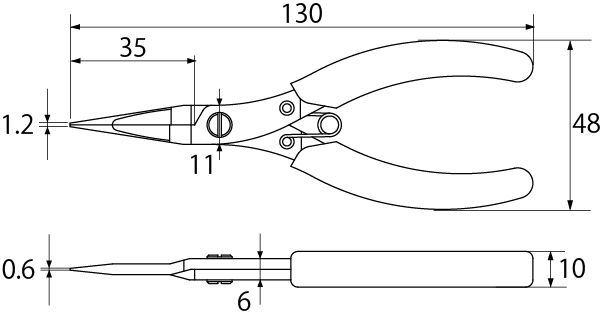
TOP Kogyo NN-100N Pliers ດັງເຂັມ (130mm) | EMIN.COM.LA